1
/
of
1
SUZUKI
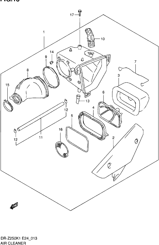
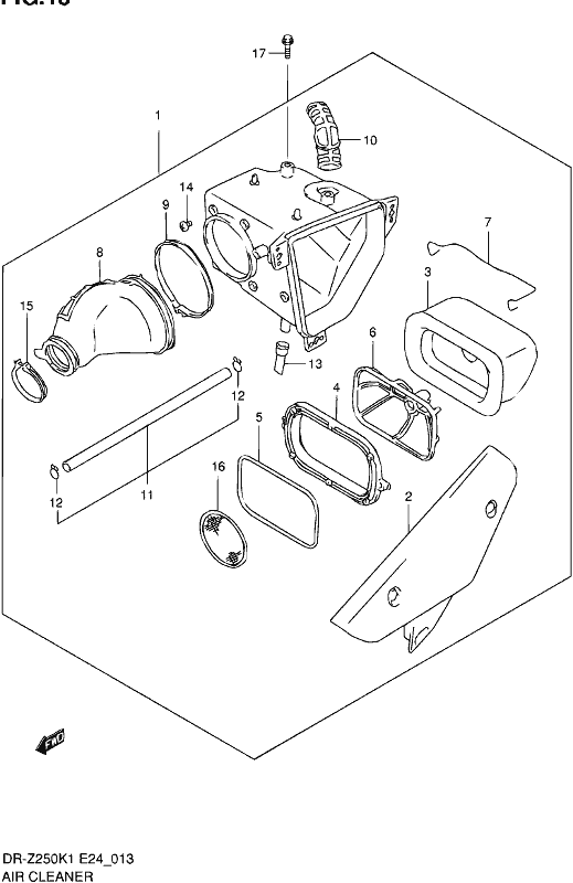
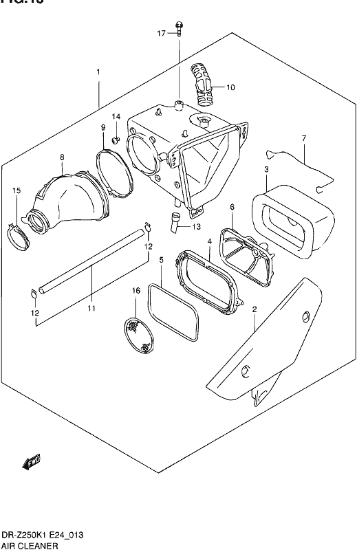
SUZUKI L/H AIRBOX COVER NO STICKERS DRZ250 98-09
SUZUKI L/H AIRBOX COVER NO STICKERS DRZ250 98-09
Regular price
$98.20 AUD
Regular price
$98.20 AUD
Sale price
$98.20 AUD
Unit price
/
per
Taxes included.
Part Number: 13740-13E00
Couldn't load pickup availability
Share
